(TXT) View Source
       
       # SONY CORPORATION
       
          DDU 220E/H
       
          Device Type       External DVD-ROM                             
          Interface         IDE(AT)                                      
          Spin Rate (Read)  5x (DVD), 24x (CD-ROM)                       
          Formats Supported CD-Audio, CD-XA, CD-I, CD-ROM (Mode 1),      
          Read              Photo-CD, Video CD, CD-Plus, CD-RW, CD-Text, 
                            DVD Video, DVD-ROM, DVD-R                    
          View              Top                                          
       
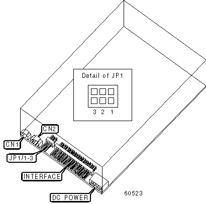
 (IMG) IMG 1
          
       
          +------------------------------------------------------------+
          |                        CONNECTIONS                         |
          |------------------------------------------------------------|
          |     Function      | Label |        Function        | Label |
          |-------------------+-------+------------------------+-------|
          | Reserved          |  CN1  | Audio line out         |  CN2  |
          +------------------------------------------------------------+
       
          +------------------------------------------------------------+
          |                   MASTER/SLAVE SELECTION                   |
          |------------------------------------------------------------|
          |             Setting             | JP1/1  | JP1/2  | JP1/3  |
          |---------------------------------+--------+--------+--------|
          | ยป | Master in two drive system  | Closed |  Open  |  Open  |
          |---+-----------------------------+--------+--------+--------|
          |   | Slave in two drive system   |  Open  | Closed |  Open  |
          |---+-----------------------------+--------+--------+--------|
          |   | Master/Slave determined by  |  Open  |  Open  | Closed |
          |   | cable select                |        |        |        |
          +------------------------------------------------------------+