(TXT) View Source
       
       # SMART AND FRIENDLY
       
          CD RACER
       
          Device Type       Internal CD-ROM                              
          Interface         IDE(AT)                                      
          Spin Rate         2x                                           
          (Read/Write)      
          Formats Supported CD-XA, CD-DA, CD-I, CD-I Ready, CD Bridge,   
          Read              CD-ROM (Mode 1 & Mode 2), Video CD, CD       
                            Extra, CD-RW                                 
          Formats Supported CD-ROM (Mode 1 & Mode 2), CD-DA, CD-XA,      
          Write             CD-I, CD-Bridge, Video CD, CD-Extra, CD-RW   
          View              Top                                          
       
 (IMG) IMG 1
          
       
          +------------------------------------------------------------+
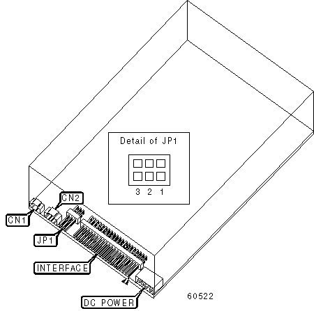
          |                        CONNECTIONS                         |
          |------------------------------------------------------------|
          |        Function        | Label |     Function      | Label |
          |------------------------+-------+-------------------+-------|
          | Digital audio line out |  CN1  | Audio line out    |  CN2  |
          +------------------------------------------------------------+
       
          +------------------------------------------------------------+
          |                   MASTER/SLAVE SELECTION                   |
          |------------------------------------------------------------|
          |             Setting             | JP1/1  | JP1/2  | JP1/3  |
          |---------------------------------+--------+--------+--------|
          | ยป | Master in two drive system  | Closed |  Open  |  Open  |
          |---+-----------------------------+--------+--------+--------|
          |   | Slave in two drive system   |  Open  | Closed |  Open  |
          |---+-----------------------------+--------+--------+--------|
          |   | Master/slave determined by  |  Open  |  Open  | Closed |
          |   | cable select                |        |        |        |
          +------------------------------------------------------------+