(TXT) View Source
       
       # SIEMENS NIXDORF
       
          H395, H404, H405, H409
       
          Device Type       Internal CD-ROM                              
          Interface         IDE(AT)                                      
          Spin Rate (Read)  32x                                          
          Formats Supported CD-XA, CD-R, CD-RW, CD-I, CD-ROM (Mode 1 &   
          Read              Mode 2), CD-Extra, ISO 9660, Photo-CD, Video 
                            CD, Red & Yellow Book, CD-Plus,              
                            Multi-session                                
          View              Top                                          
       
 (IMG) IMG 1
          
       
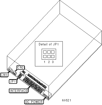
          +------------------------------------------------------------+
          |                        CONNECTIONS                         |
          |------------------------------------------------------------|
          |        Function        | Label |     Function      | Label |
          |------------------------+-------+-------------------+-------|
          | Digital audio line out |  CN1  | Audio line out    |  CN2  |
          +------------------------------------------------------------+
       
          +------------------------------------------------------------+
          |                   MASTER/SLAVE SELECTION                   |
          |------------------------------------------------------------|
          |             Setting             | JP1/1  | JP1/2  | JP1/3  |
          |---------------------------------+--------+--------+--------|
          | Master in two drive system      |  Open  |  Open  | Closed |
          |---------------------------------+--------+--------+--------|
          | Slave in two drive system       |  Open  | Closed |  Open  |
          |---------------------------------+--------+--------+--------|
          | Master/slave determined by      | Closed |  Open  |  Open  |
          | cable select                    |        |        |        |
          +------------------------------------------------------------+