(TXT) View Source
       
       # TOSHIBA
       
          SD-M1102-S
       
          Device Type       Internal DVD ROM                             
          Interface         ATAPI                                        
          Spin Rate (Read)  8x                                           
          Formats Supported CD-XA, CD-I, Photo-CD, Video CD, CD-RW,      
          Read              DVD-ROM, CD-G, CD-DA                         
          View              Top                                          
       
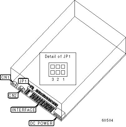
 (IMG) IMG 1
          
       
          +------------------------------------------------------------+
          |                        CONNECTIONS                         |
          |------------------------------------------------------------|
          |        Function        | Label |     Function      | Label |
          |------------------------+-------+-------------------+-------|
          | Digital audio line out |  CN1  | Audio line out    |  CN2  |
          +------------------------------------------------------------+
       
          +------------------------------------------------------------+
          |                     ATAPI MASTER/SLAVE                     |
          |------------------------------------------------------------|
          |             Setting             | JP1/1  | JP1/2  | JP1/3  |
          |---------------------------------+--------+--------+--------|
          | Master in two drive system      | Closed |  Open  |  Open  |
          |---------------------------------+--------+--------+--------|
          | Slave in two drive system       |  Open  | Closed |  Open  |
          |---------------------------------+--------+--------+--------|
          | Master/slave determined by      |  Open  |  Open  | Closed |
          | cable select                    |        |        |        |
          +------------------------------------------------------------+