(TXT) View Source
       
       # PLEXTOR
       
          PX-R820TI INTERNAL
       
          Device Type       Internal CD-ROM                              
          Interface         SCSI                                         
          Spin Rate         20x                                          
          (Read/Write)      
          Formats Supported CD-XA, CD-DA, CD-R, CD-I, CD-ROM (Mode 1 &   
          Read              Mode 2), Photo-CD, CD-Plus, CD-E, CD+G,      
                            CD-MIDI                                      
          Formats Supported CD-XA, CD-DA, CD-R, CD-I, CD-ROM (Mode 1 &   
          Write             Mode 2), Photo-CD, CD-Plus, CD-E, CD+G,      
                            CD-MIDI                                      
          View              Top                                          
       
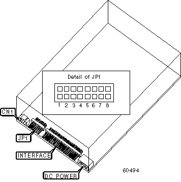
 (IMG) IMG 1
          
       
          +------------------------------------------------------------+
          |                        CONNECTIONS                         |
          |------------------------------------------------------------|
          |           Function            |           Label            |
          |-------------------------------+----------------------------|
          | Audio line out                |            CN1             |
          +------------------------------------------------------------+
       
          +------------------------------------------------------------+
          |                 USER CONFIGURABLE SETTINGS                 |
          |------------------------------------------------------------|
          |                Setting                | Label  | Position  |
          |---------------------------------------+--------+-----------|
          |   | Parity check disabled             | JP1/4  |   Open    |
          |---+-----------------------------------+--------+-----------|
          | » | Parity check enabled              | JP1/4  |  Closed   |
          |---+-----------------------------------+--------+-----------|
          | » | Termination enabled               | JP1/5  |  Closed   |
          |---+-----------------------------------+--------+-----------|
          |   | Termination disabled              | JP1/5  |   Open    |
          |---+-----------------------------------+--------+-----------|
          | » | Factory configured - do not alter | JP1/6  |   Open    |
          |---+-----------------------------------+--------+-----------|
          | » | Block disabled                    | JP1/7  |   Open    |
          |---+-----------------------------------+--------+-----------|
          |   | Block enabled                     | JP1/7  |  Closed   |
          |---+-----------------------------------+--------+-----------|
          | » | Factory configured - do not alter | JP1/8  |   Open    |
          +------------------------------------------------------------+
       
          +------------------------------------------------------------+
          |                     SCSI ID SELECTION                      |
          |------------------------------------------------------------|
          |    SCSI ID    |    JP1/1     |    JP1/2     |    JP1/3     |
          |---------------+--------------+--------------+--------------|
          |    |    0     |     Open     |     Open     |     Open     |
          |----+----------+--------------+--------------+--------------|
          |    |    1     |    Closed    |     Open     |     Open     |
          |----+----------+--------------+--------------+--------------|
          |    |    2     |     Open     |    Closed    |     Open     |
          |----+----------+--------------+--------------+--------------|
          |    |    3     |    Closed    |    Closed    |     Open     |
          |----+----------+--------------+--------------+--------------|
          | »  |    4     |     Open     |     Open     |    Closed    |
          |----+----------+--------------+--------------+--------------|
          |    |    5     |    Closed    |     Open     |    Closed    |
          |----+----------+--------------+--------------+--------------|
          |    |    6     |     Open     |    Closed    |    Closed    |
          |----+----------+--------------+--------------+--------------|
          |    |    7     |    Closed    |    Closed    |    Closed    |
          +------------------------------------------------------------+