(TXT) View Source
       
       # ARTEC
       
          CD-RW 226
       
          Device Type       Internal CD-ROM                              
          Interface         ATAPI                                        
          Spin Rate         6x/2x                                        
          (Read/Write)      
          Formats Supported CD-XA, CD-DA, CD-R, CD-I, CD-ROM (Mode 1 &   
          Read              Mode 2), Photo-CD, Video CD, CD-Plus, CD-RW, 
                            Mixed mode, I-TRAX, UDF, Bootable            
          Formats Supported CD-XA, CD-DA, CD-R, CD-I, CD-ROM (Mode 1 &   
          Write             Mode 2), Photo-CD, Video CD, CD-Plus, CD-RW, 
                            Mixed mode, I-TRAX, UDF, Bootable            
          View              Top                                          
       
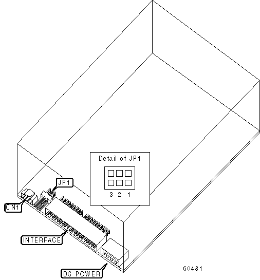
 (IMG) IMG 1
          
       
          +------------------------------------------------------------+
          |                        CONNECTIONS                         |
          |------------------------------------------------------------|
          |           Function            |           Label            |
          |-------------------------------+----------------------------|
          | Audio line out                |            CN1             |
          +------------------------------------------------------------+
       
          +------------------------------------------------------------+
          |                ATAPI MASTER/SLAVE SELECTION                |
          |------------------------------------------------------------|
          |                Setting                 |                   |
          |----------------------------------------+-------------------|
          | Master/Slave determined by cable       | Pins 3 & 6 closed |
          | select                                 |                   |
          |----------------------------------------+-------------------|
          | Slave in two drive system              | Pins 2 & 5 closed |
          |----------------------------------------+-------------------|
          | Master in two drive system             | Pins 1 & 4 closed |
          +------------------------------------------------------------+